搜索
产品展示
研发、生产及销售中高压电力电缆附件

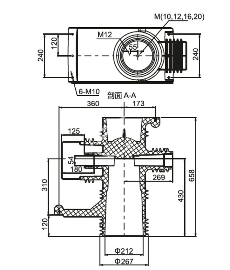
三通触头盒 防尘CHZ4A-35/660×360×173

产品型号:CHZ4A-35/660×360×173

所属分类:环氧树脂浇注绝缘件

在线订购

产品详情

106_三通触头盒 防尘CHZ4A-35/660×360×173_2_第34页_KYN61-40.5kV系列.jpg

上一篇:触头盒(左右出线口)CHZ-35/660×220×173

下一篇:触头盒 高原型CHZ3A-35/660×360×173